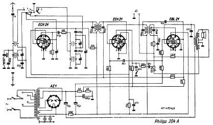
Philips 304 a schematic
This is the 1 pages manual for philips 304 a schematic.
Read or download the pdf for free. If you want to contribute, please upload pdfs to audioservicemanuals.wetransfer.com.
Page: 1 / 1
