Jamo manuals
Browse manuals in directory j/jamo/jamo-707i/
|
|
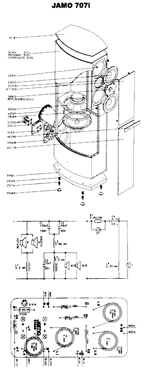
jamo 707i schematic assembly |
|---|
|
|
jamo 707i schematic assembly |
|---|