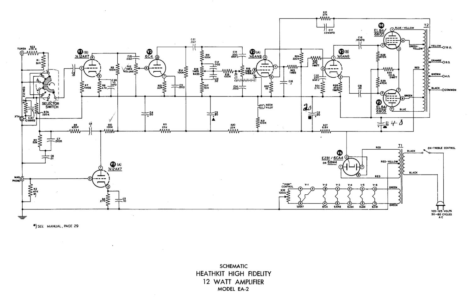
Heathkit EA 2 Schematic 2
This is the 1 pages manual for Heathkit EA 2 Schematic 2.
Read or download the pdf for free. If you want to contribute, please upload pdfs to audioservicemanuals.wetransfer.com.
Page: 1 / 1
